マニホールド
■PFAマニホールド(チューブ)
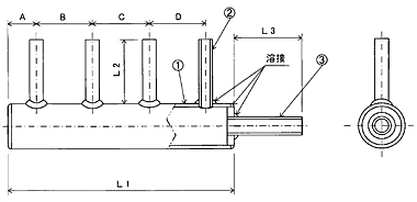
型式:MHS

(単位mm)
| 1.ボディーサイズ | 2.ボディーサイズ | 本数 | A | B | C | D | 3.チューブサイズ | |
|---|---|---|---|---|---|---|---|---|
| Ф25×Ф28×L1 | Ф×Ф×L2 | Ф×Ф×L3 | ||||||
| Ф49×Ф53×L1 | Ф×Ф×L2 | Ф×Ф×L3 | ||||||
| Ф61×Ф65×L1 | Ф×Ф×L2 | Ф×Ф×L3 |
1)品番1.基準寸法です、L1をご指示ください。
2)品番2.チューブサイズL2、数量、A、B、C、D、ご指示ください。
3)品番3.チューブサイズL3、ご指示ください。
他の形状も出来ます、ご相談ください。
■PFAマニホールド(フレキ)
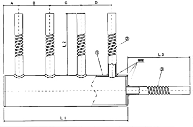
型式:MHF

(単位mm)
| 1.ボディーサイズ | 2.ボディーサイズ | 本数 | A | B | C | D | 3.チューブサイズ | |
|---|---|---|---|---|---|---|---|---|
| Ф25×Ф28×L1 | Ф×Ф×L2 | Ф×Ф×L3 | ||||||
| Ф49×Ф53×L1 | Ф×Ф×L2 | Ф×Ф×L3 | ||||||
| Ф61×Ф65×L1 | Ф×Ф×L2 | Ф×Ф×L3 |
1)品番1.基準寸法です、L1をご指示ください。
2)品番2.チューブサイズL2、数量、A、B、C、D、ご指示ください。
3)品番3.チューブサイズL3、ご指示ください。
他の形状も出来ます、ご相談ください。



