PTFE・ PFA・ PVDFなどフッ素樹脂の溶接や加工を専門とするエンプラ二次加工メーカーが新生技研です。
デジタル化された時代だからこそ、人でなければ出来ないものがあります
TOP
こだわり
製品情報
納品までの流れ
MAP
会社概要
お問い合せ
IG配管関連
半導体装置関連
汎用装置関連
理化学関連
・
試験管
・
撹拌棒
・
検尺棒
・
スパイラルチューブ
・
冷却装置
・
その他
溶接加工関連
被覆加工関連
既製品改造関連(市販品)
極細チューブ加工関係
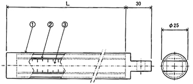
検尺棒
他の写真も見る
品番
品名
材質
備考
1
全面被覆
PFA PTFE
2
パイプ
アルミ
3
メジャー
スチール
No
L
数量
重量(kg)
備考
1
1000
2.0
2
2000
3.8
3
3000
5.6
注)長さ(L)は、ご希望の長さで製作できます。